
第一部分概述
第一,硬度。
具有抗弹性变形、塑性变形或破坏力的能力。在用压入法进行的硬度测试中,硬度是物质抵抗另一个具有一定形状和尺寸的硬物压入其表面的能力。
洛氏硬度测试法原理。
洛氏硬度的测定采用固定压头,连续施加两次测试力(初测试力Fo和总测试力F),压入试样表面,在总测试力保持一定时间后,卸除主测试力F1,保留初始测试力,测量其压入深度h1,压入深度h1和压入深度ho之差,表示洛氏硬度的高低,以压入深度h1和压入深度ho之差为一个洛氏硬度单位,一般从指示表盘上直接读出,如图所示。
按下式计算洛氏硬度值HR=K-
通常情况下C的形式等于毫米。
K-常数当金刚石锥形压头的值为100,
钢球压头采用130度。
罗氏硬度测试示意图。

洛氏硬度试验的特点;
洛氏硬度试验采用测量压入深度的方法,硬度值通过指示直接读数,因而操作简便,易于掌握,工作效率高,适用于批量零件的检验;洛氏硬度试验法,可采用金刚石压头、刚球压头,可测硬、软试样,适用范围广,因而洛式硬度计试验在生产中应用广泛,成为检验产品质量,确定合理加工工艺的主要检测手段。洛氏硬度计是生产企业、高等院校、科研院所进行硬度试验、教学和科研工作最常用的试验仪器。
第二,硬度计的使用。
根据材料的硬度范围,不同的测试厚度,可选择不同的压头和测试力,并以不同的标尺来表示,最常用的有A、B和C标尺,下表列出了常用标尺的测试力,压头的数值,K常数,以及应用实例。
罗氏硬度计的使用范围
洛氏硬度标尺硬度符号的类型为试验总压力。
FNewton(公斤)常数适用范围应用举例。
AHRA钻石锥形压头(60)10020-95HRA硬金属和硬质合金。
高强度钢板直径球压头(100)130-100高强度钢板有色金属及软金属。
CHRC金刚石锥形压头1471(150)10020-70HRC热处理结构钢工具钢。
DHED金刚石锥形压头(100)10040-77HRD薄型表面淬火钢。
高射频直径球压头(60)130-100高射频有色金属。
GHRGW直径球压头1471(150)130-94HRGW珠光体铁镍锌合金。
标准尺:用于测定硬度超过70HRC的金属,如碳化钨、硬质合金等,也可用于测定硬质薄板材料和表层淬火材料。
b标尺:用来测定有色金属及其合金、退火钢或未淬硬的钢材等较软或中等硬度的材料。
量规:用来测定碳钢、工具钢和合金钢等钢制品经热处理后的硬度。
第三,主要技术指标。
1.初试作用力(10kgf)
2.试验总力N(60kgf)(100kgf)1471N(150kgf)
指标标度C:0-100;B:30-130。
试件的最高高度加丝杠保护套时,长度为100毫米。
无丝杠保护套时为170毫米。
五是压痕中心到机壁的距离为135毫米。
硬度计外形尺寸466×238×630mm。
七,硬度计,净重65公斤。
第四,机构业绩简介。
该硬度计由以下几部分组成:机体、受力机构、测量指示机构和试件支撑机构(见图1)。

机体是一个闭合的壳体,除露出工作台、丝杠和操纵手柄外,其他机构均设置于机体外壳内,便于保持清洁。
测试的力施加机构包括主轴、丝杠、刀口、砝码缓冲、砝码转换机构、操纵杆等。
主轴(1)圆刀(2)长菱形刀(3)大杠杆(4)小杠杆(21)顶杆(5)等部件的重量和指示器(24)测量的压力是产生初步检验力的主要因素。如果试件与压头接触并继续上升,使大的和小的杠杆在水平位置上(指示器小指针指向红点,大的指针垂直向上),压头就可以承受(10kg)的初始压力,因为杠杆等的重量和指示器测量的压力。
整体测试力由主测试力(根据砝码的重量)和初步测试力组成,两个砝码(10)和吊环(11)安装在缓冲器(7)机架轴(8)顶杆(9)上。拉把(15)使缓冲器的活塞下降时,齿条轴(8)顶杆(9)和吊环(11)的砝码(10)也一起下降,因此砝码(10)和吊环(11)的重量便作用在大杠杆上(4)使压头受到总试验力的作用。
箱体上装有砝码变荷架(12),当转动变荷架(13)转到不同位置时,就可以获得所需的1471N或N或N三种不同总测力。
调节油针(14)用来维持一定的速度,避免被施加在主测试力上的冲击。
把手(15)用来施加主测力,把把手(16)用来卸主测力,拉把手(15)时,凸轮(17)和齿轮(19)开始转动,齿条轴(8)顶杆(9)和缓冲活塞随主测力的下降一起下降,同时把把手(16)按逆时针的方向转动,当吊环在下降过程中被装在大杠杆尾端的小刀(20)托住时,把主测力完全施加。
量具机构包括诸如顶杆(5)、小杠杆(21)、调整板(22)、接杆(23)和指示(24)等部件。提升试件时,压头被顶起,顶杆(5)便顶起小杠杆(21)经接杆(23)使指示器指针转动。
试验件支撑机构由工作台(25)丝杠(26)手轮(27)丝杠座(31)保护套(29)水平轴承(30)组成。值得注意的是,与其他厂家相同型号的硬度计相比,本硬度计增加了保护套(29)和平轴承(30),避免了在使用过程中灰尘杂物等沾附在支撑面上,减少对支撑面的磨损,从而使操作更加润滑流畅,示值更加准确稳定。
5.安装硬度计。
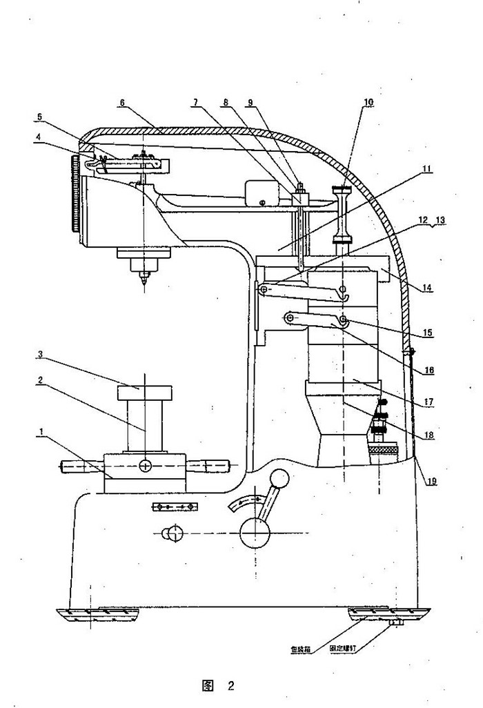
(1)拆箱(见图2)

打开包装箱顶盖,取下箱体底部4个固定螺丝,即可将硬度计安装到干燥干净、无腐蚀性气体且无振动的室内。安放硬度计的台子应该结实,打出直径大于Φ50毫米的孔,以便丝杠通过。
(2)、根据装箱单检查附件是否完整。
(3)打开机上盖(6)和后盖(19)
(4)松开螺母(8)卸下钩头(9)。
取下大杠杆固定压块(7)和固定支撑块(1)。
(6)松开螺母(13)卸下钩头螺钉(12)将重物固定压板(14)
用手捏住吊环(10),缓慢向上提起砝码组(17),同时将砝码固定支撑块(18)取出来,然后,将砝码组(17)轻放,使砝码圆柱销(15)落到托板上的沟槽上,将砝码固定在托板上(16)。
(8)解开小型杠杆固定绳索(4)
9)转动手轮(1)使丝杠(2)下降,移除压头垫子(3)。
卸下丝杠保护套(30)用煤油洗净出厂时涂在丝杠、手轮等处的防锈油,然后浇入少量润滑油,使其与丝杠和手轮接触,再将丝杠保护套重新安装。
检查大杠杆(4)上的调整块(6)的位置是否在两个红色标记之间,否则应重新安装到正确的位置。
将大水平面安装在丝杠(26)的上端,然后将水平面安装在平台表面。将4个调整底角的水平螺栓安装在机体底部,使硬度计的水平度在范围内。
操作的使用方法及注意事项。
第一,试验前的准备工作。
调整主试力的施加速度:手柄(16)置于卸载位置,手把(13)转向1471N的位置,把标准硬度块35-55HRC放在工作台上,旋转手柄(27)使硬度块顶住主轴,加上第一次测试的力量,并将手柄(15)拉入主试力,观察指示表。
(2)、试验力的选择:根据需要(参考——使用范围)选择试验力。转动手把(13)使所选用的试验力数值对准红点,但必须注意,变换试验力时,手柄(16)必须置于卸荷状态(即后极限位置)。
(3)、安装压头:根据(使用范围)选择适当压头。安装压头时,应注意消除压头与主轴(1)端面的间隙。消除方法是:装上压头并用螺钉(28)轻轻固定,然后将标准块或试件放置于工作台上,旋转手轮(27)加上初试验力,拉动手柄(15)使主试验力加于压头上,再将螺钉(28)拧紧,即可消除压头与主轴端面间的间隙。
(4)、试件的制备与选择
试样应具有一定的大小和厚度,应能保证相邻压痕中心间及压痕中心至试件边缘的距离大于3毫米,试件最小厚度不应小于压痕深度的八倍。试验后,试样的支撑面上不得有明显的变形痕迹,其最小厚度取决于材质及所采用的负荷,可参考以下试样最小厚度表。
试样最小厚度表
| 标尺 | 硬度值 HR | 最小厚度 (mm) | 标尺 | 硬度值 HR | 最小厚度 (mm) |
| A | 70 | 0.7 | B | 80 | 1.0 |
| 80 | 0.5 | 90 | 0.8 | ||
| 90 | 0.4 | 100 | 0.7 | ||
| B | 25 | 2.0 | C | 20 | 1.5 |
| 30 | 1.9 | 30 | 1.3 | ||
| 40 | 1.7 | 40 | 1.2 | ||
| 50 | 1.5 | 50 | 1.0 | ||
| 60 | 1.3 | 60 | 0.8 | ||
| 70 | 1.2 | 67 | 0.7 |
试样一般为平面,如果对曲面试样进行试验,而其曲率半径不大时,则试验结果应进行示值修正。对凸面试样,应当加上修正量,对凹面试样应当减去修正量,圆柱试样的修正量可参考下表。
圆柱试样C、A、D标尺的修正量
![]() | 圆柱形试样直径(毫米) | ||||||||
| 6.4 | 10 | 13 | 16 | 19 | 22 | 25 | 32 | 38 | |
| 20 | 6.0 | 4.5 | 3.5 | 2.5 | 2.0 | 1.5 | 1.5 | 1.0 | 1.0 |
| 25 | 5.5 | 4.0 | 3.0 | 2.5 | 2.0 | 1.5 | 1.0 | 1.0 | 1.0 |
| 30 | 5.0 | 3.5 | 2.5 | 2.0 | 1.5 | 1.5 | 1.0 | 1.0 | 1.0 |
| 35 | 4.0 | 3.0 | 2.0 | 1.5 | 1.5 | 1.0 | 1.0 | 0.5 | 0.5 |
| 40 | 3.5 | 2.5 | 2.0 | 1.0 | 1.0 | 1.0 | 1.0 | 0.5 | 0.5 |
| 45 | 3.0 | 2.0 | 1.5 | 1.0 | 1.0 | 1.0 | 0.5 | 0.5 | 0.5 |
| 50 | 2.5 | 2.0 | 1.5 | 1.0 | 1.0 | 0.5 | 0.5 | 0.5 | 0.5 |
| 55 | 2.0 | 1.5 | 1.0 | 1.0 | 0.5 | 0.5 | 0.5 | 0.5 | |
| 60 | 1.5 | 1.0 | 1.0 | 0.5 | 0.5 | 0.5 | 0.5 | ||
| 65 | 1.5 | 1.0 | 1.0 | 0.5 | 0.5 | 0.5 | 0.5 | ||
| 70 | 1.0 | 0.5 | 0.5 | 0.5 | 0.5 | 0.5 | 0.5 | ||
| 75 | 1.0 | 0.5 | 0.5 | 0.5 | 0.5 | 0.5 | |||
| 80 | 0.5 | 0.5 | 0.5 | 0.5 | 0.5 | ||||
| 85 | 0.5 | 0.5 | 0.5 | ||||||
| 90 | 0.5 | ||||||||
圆柱试样B、F、G标尺的修正量
![]() | 圆柱形试样直径(毫米) | ||||||
| 6.4 | 10 | 13 | 16 | 19 | 22 | 25 | |
| 12.5 | 8.5 | 6.5 | 5.5 | 4.5 | 3.5 | 3.0 | |
| 10 | 12.0 | 8.0 | 6.0 | 5.0 | 4.0 | 3.5 | 3.0 |
| 20 | 11.0 | 7.5 | 5.5 | 4.5 | 4.0 | 3.5 | 3.0 |
| 30 | 10.0 | 6.5 | 5.0 | 4.5 | 3.5 | 3.0 | 2.5 |
| 40 | 9.0 | 6.0 | 4.5 | 4.0 | 3.0 | 2.5 | 2.5 |
| 50 | 8.0 | 5.5 | 4.0 | 3.5 | 3.0 | 2.5 | 2.0 |
| 60 | 7.0 | 5.0 | 3.5 | 3.0 | 2.5 | 2.0 | 2.0 |
| 70 | 6.0 | 4.0 | 3.0 | 2.5 | 2.0 | 2.0 | 1.5 |
| 80 | 5.0 | 3.5 | 2.5 | 2.0 | 1.5 | 1.5 | 1.5 |
| 90 | 4.0 | 3.0 | 2.0 | 1.5 | 1.5 | 1.5 | 1.0 |
| 100 | 3.5 | 2.5 | 1.5 | 1.5 | 1.0 | 1.0 | 0.5 |


试样表面必须经过精磨或抛光,表面粗糙度应不低于1.6,加工时不影响材料的硬度,即不应有加工硬化或出现回火现象,支撑面的表面粗糙度不低于3.2,试样工作面,支撑面及工作台面,均应清洁无油污。试样应平稳地放置在工作台上,在试验过程中不应发生移动现象。
试样的安装,必须保证所施加的试验力垂直于试验面。对于弯曲形状及其他不规则形状的试样,必须采用相应类型的专用工作台,并选择正确的试验位置。例如对圆柱试样,必须采用“V”型工作台。
2、试验程序
1 将丝杠(26)顶面及被选用工作台上下端面擦干净,将工作台置于丝杠(26)上端面上。
2 将试件支撑面擦干净,放置于工作台上,旋转手轮(27)使工作台缓缓上升,并顶起压头,到指示器的小指针指着红点,大指针旋转三圈垂直向上为止(允许相差±5个刻度,若超过5个刻度,此点作废,重新试验)。注意:工作台上升时,绝对不允许有后退现象。
3 旋转指示器(24)外壳,使C、B之间长刻线与大指针对正(顺时针或逆时针旋转均可)。
4 拉动加荷手柄(15),施加主试验力,这时指示器的大指针按逆时针方向转动。
5 当指示器指针的转动显著停下来后,保持2-6秒钟时间后,即可将卸荷手柄(16)以2-3秒钟的时间推回,卸除主试验力。注意:主试验力的施加与卸除,均需在缓慢无冲击状态下进行。
6 立即从指示器上相应的标尺读数,采用金刚石压头试验时,按表盘外圈的黑体读数,采用球压头试验时,按表盘内圈的红体数读取。
7 转动手轮使试件下降,再移动试件,按以上(2)—(6)过程进行新的试验。注意a:试件一定要紧贴工作台面移动;b:必须保证相邻压痕中心之间及中心至边缘的距离大于3毫米;c:通常情况下第一点试验只是用来抵消各支撑面间隙,试验结果不计,应当从第二点统计试验结果。
8 丝杠保护套(30)是为了保护丝杠(26)不受灰尘侵袭而设制的。硬度计不使用时或试件高度小于100毫米时,将其套在丝杠外面。当试件高度大于100毫米时,必须将其拿掉,以免将工作台顶起,使试验无效。
七、硬度计的维护与调校
1、硬度计应当在温度为18-28℃,清洁无振动的环境中使用。
2、硬度计长时间不用时,应用防尘罩将机器盖好。
3、定期在丝杠(26)与手轮(27)的接触面注入少量机油。
4、如发现硬度计示值误差较大,(1)可拿下工作台检查其与丝杠接触面是否清洁;(2)检查丝杠保护套是否顶起工作台面;(3)检查压头是否损坏。
5、若施加主试验力时,指示器指针开始转动很快,然后缓慢转动,说明缓冲器内机油过少,此时可掀起缓冲器(7)上端的毡垫,缓慢地注入清洁的20#机油,同时多次拉推手柄(15)(16),使活塞上下移动多次,将缓冲器内空气全部排出,直到活塞沉到底时有油从上面溢出为止。注意:由于受温度影响油缸中机油容易产生稀稠变化,从而影响加荷速度,应视情况及时调整油针(14)使之达到使用要求。
6、用本机佩戴的标准硬度块定期检查硬度计示值精度。
将工作台及标准块擦干净,在硬度块工作面上进行试验,决不允许在支撑面上试验。
(2)若示值误差较大,除按本节第4项检查外,还应检查标准硬度块支撑面是否有毛刺,若有毛刺应用油石打光。
(3)在标准块不同位置试验时,硬度块应紧贴工作台面拖动,严禁拿离工作台。
(4)硬度计的示值调整:若通过以上工作,硬度计示值误差仍然较大,可通过调整板(22)的前后位置,以达到示值精度要求。方法是:松开调整板(22)上前后两个M3螺丝,前后移动调整板(22)位置即可。注意向指示器方向移动时,示值增大,反之示值减小。调整结束后应固定紧已经松开的两个M3螺丝。如调整后发现指示器指针不竖直向上,可松开调整板中间的M3螺丝上的背帽,旋转此螺丝即可使指针达到要求。
北京创诚致佳科技有限公司专业从事分析测试仪器设备的研发、生产制造、市场开发、国际贸易、销售及技术服务。